X-Rite IntelliTrax 如何连接电源?
发布时间:2020-04-02 01:15
넶浏览量:0
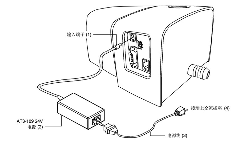
爱色丽IntelliTrax使用直插式电源供电,需要注意什么呢?
答复:
必须使用爱色丽原装的电源适配器,24V 3A,否则容易损坏仪器。
IntelliTrax没有电源开关键,插上电源指示灯就亮,如果长时间不用,可以拔掉电源或关闭插座电源。

相关产品链接:IntelliTrax2 扫描测量仪 eXact 分光密度仪
如需了解更多爱色丽产品,欢迎访问https://ibetter.com/xrite
- 2019-01-01
- 2020-05-20
- 2015-11-05
- 2021-01-03
- 2020-05-13
- 2019-12-03
- 2020-05-17
- 2020-03-21
- 2022-04-12
- 2019-08-01
- 2019-12-06
- 2019-08-01









